37세 남성 M씨는 원래 건강했으며 한 가정의 가장이었습니다. 하지만 1년이 넘는 기간 동안, 그는 관절통, 장골 통증, 그리고 지속적인 근육통으로 고통받으며 몸이 빠르게 쇠약해졌습니다. 여러 차례의 진료 끝에, 의사들은 그의 몸 여러 부위에서 골절을 발견했습니다. 그는 이전에 외상을 입은 적이 없음에도 불구하고, 대퇴경부 골절로 인해 인공 고관절 치환술을 받아야 했습니다.
M씨는 수술 후 건강과 운동 능력이 향상되기를 바랐습니다. 그러나 현실은 달랐고, 전신 통증은 더욱 심해졌습니다. 그는 이렇게 말했습니다. “관절이 마치 노인처럼 쑤시고 아팠습니다. 통증은 점점 심해졌고, 일할 때나 쉴 때 모두 계속되었습니다. 자세를 바꾸거나 움직일 때마다 너무 힘들었습니다. 목발을 사용하거나 가족의 도움을 받는 경우가 많았습니다. 1년 넘게 택시만 타고 출근하고, 더 이상 스스로 운전할 수 없게 되었습니다.”
응우옌 티 번 석사 전문의가 환자 M을 진찰합니다.
2025년 6월, 상태가 점점 악화되자 그는 다시 홍옥 종합병원을 찾아 진료를 받았습니다. 이곳에서 그는 다양한 검사, 영상 진단, 그리고 골밀도 검사를 진행했습니다. 그 결과, 그는 골연화증을 앓고 있으며 부갑상선 기능 항진증 및 만성 저인산혈증을 동반하고 있다는 진단을 받았습니다.
이 환자를 직접 진찰하고 치료한 홍옥 종합병원 근골격과의 응우옌 티 번 석사는 다음과 같이 설명했습니다. “골연화증은 대사 장애로 인해 뼈가 부드러워지고 약해지는 질환입니다. 이로 인해 뼈가 쉽게 부서지거나 골절될 수 있습니다. 이 질환은 매우 드물며, 증상이 골다공증이나 추간판 탈출증과 같은 다른 근골격계 질환 또는 부갑상선 기능 항진증과 비슷하여 발견하기가 어렵습니다. 세계 의학 문헌에 따르면 현재까지 1,000건 미만이 기록되었으며, 베트남에서는 시기적절하게 발견된 몇 안 되는 희귀 사례 중 하나입니다.”
희귀병 진단까지 험난한 여정... 원인을 찾기까지 42년 걸린 사례도
골연화증은 젊은 환자에게도 발생할 수 있으며, 원인을 정확히 파악하면 완치 및 뼈의 약화를 막을 수 있습니다. 이를 통해 추가 골절 위험을 줄이고, 관절 변형과 영구적인 운동 능력 상실을 예방할 수 있습니다. 그러나 질병의 근본적인 원인을 규명하는 것은 결코 간단하지 않습니다. 응우옌 티 번 석사 전문의에 따르면 평균 진단 기간은 3년 6개월이며, 어떤 경우에는 원인을 찾는 데 42년이 걸리기도 합니다. 그 기간 동안 환자는 장기간의 근골격계 통증을 겪는 것이 좋습니다. 베트남에서는 아직 골연화증 진단 검사에 한계가 있어, M 씨의 원인 규명 여정은 많은 어려움을 겪었습니다.
환자를 접수한 즉시, 홍옥 종합병원 정형외과(근골격계) 의료진은 종합적인 평가를 실시했습니다. 그들은 다음의 요인들을 면밀히 조사했습니다.
유전적 요인: 가족력, 형제자매, 어린 시절부터의 뼈 발달 과정
직업적 요인: 유해 화학 물질 노출 여부
식습관 및 영양 흡수 능력
그 결과, 특별한 이상은 발견되지 않았고, 위와 같은 원인들은 배제되었습니다. 이어서 의료진은 부갑상선기능항진증 및 만성 저인산혈증의 위험 요인을 평가했습니다. 초음파 검사 결과, 부갑상선에 종양이 없음을 확인했으며, M 씨의 부갑상선기능항진증은 이차성으로 진단되었습니다. 이는 골연화증의 합병증이며, 질병의 원인이 아니었습니다.
의료진은 계속해서 저인산혈증의 원인을 찾았습니다. 검사 결과, 소변을 통한 인 배출 지수가 증가한 것으로 나타났습니다. 이에 따라, 환자에게 FGF23을 과다 분비하는 종양이 있을 것으로 의심했습니다. 이 종양은 요로를 통한 인 배출을 증가시켜 저인산혈증과 뼈 대사 장애를 유발하여 골연화증을 일으킨 것입니다.
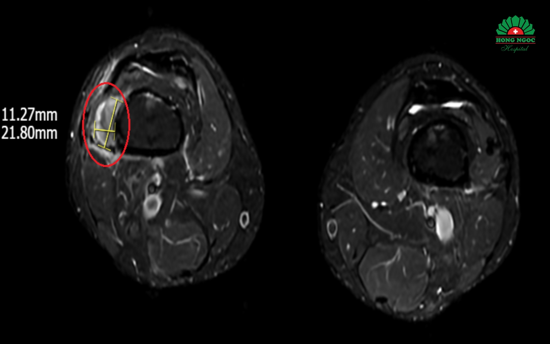
MRI 영상에 나타난 우측 허벅지 아래 연부 조직 종양
반 석사 의사는 다음과 같이 설명합니다. “종양의 정확한 위치를 파악하는 것입니다. 종양을 제거해야만 뼈를 약하고 부서지기 쉽게 만드는 인산 결핍의 근본적인 원인을 해결할 수 있기 때문입니다. 그러나 진단 과정은 많은 어려움이 따릅니다. FGF23 분비 종양은 대부분 양성 종양이며 크기가 작고 통증이나 부종을 유발하지 않습니다. 특히 이 종양은 신체 어느 부위든 나타날 수 있습니다. 정확한 진단을 위해서는 혈액 내 FGF23 수치를 측정해야 하지만, 현재 베트남에서는 이 검사가 불가능합니다. 따라서 우리는 환자에게 방사성 추적자를 이용한 전신 PET/CT 촬영을 MRI 및 초음파 검사와 함께 처방했습니다. 마침내, 환자의 오른쪽 허벅지 아래 연조직에서 약 1~2cm 크기의 종양을 발견했습니다.”
뼈를 약화시킨 종양 제거 후, 운동 능력 상실 위기 극복
종양의 위치가 확인되자마자, 홍옥 종합병원 근골격계, 내분비내과, 정형외과 의료진은 즉시 협진을 진행했습니다. 협진 결과, FGF23 과다 분비 종양의 병리학적 조직을 확인하기 위한 생검과 종양 절제술을 시행하기로 결정했습니다.
수술로 적출된 종양 사진
수술은 성공적으로 마무리되었고, 종양은 완전히 제거되었습니다. 수술 후 환자의 건강 상태는 안정적이었습니다. 수술 1주일 후 혈중 인 수치는 눈에 띄게 개선되었고, 현재 6주 후에는 정상 수준으로 회복되었습니다. 환자는 식사와 수면의 질이 향상되었고, 통증도 크게 줄었습니다. 자세를 바꾸거나 옆으로 누워도 더 이상 통증이 없으며, 보조기 없이도 실내에서 걸을 수 있게 되었습니다.
응웬티번 석사·전문의는 “환자의 경우 뼈 손상이 심하기 때문에 최소 3개월에서 12개월의 회복 기간이 필요합니다. 이 기간 동안 환자는 칼슘, 활성형 비타민 D 보충 및 영양 강화 식단으로 구성된 치료 계획을 철저히 따라야 합니다.”라고 설명했습니다.
수술 후 환자의 상태가 안정됩니다.
이 사례를 통해 응웬티번 석사·전문의는 “환자분들은 지속적인 뼈 및 관절 통증이 있을 경우 주의를 기울여야 합니다. 이상 증상이 나타나면 즉시 근골격계 전문의에게 진료를 받아 진단 및 치료 지연을 피하는 것이 중요합니다.”라고 강조했습니다.
37세 남성, 다발성 골절로 운동 능력 잃을 위기... 원인은 '희귀병
37세 남성 M씨는 원래 건강했으며 한 가정의 가장이었습니다. 하지만 1년이 넘는 기간 동안, 그는 관절통, 장골 통증, 그리고 지속적인 근육통으로 고통받으며 몸이 빠르게 쇠약해졌습니다. 여러 차례의 진료 끝에, 의사들은 그의 몸 여러 부위에서 골절을 발견했습니다. 그는 이전에 외상을 입은 적이 없음에도 불구하고, 대퇴경부 골절로 인해 인공 고관절 치환술을 받아야 했습니다.
M씨는 수술 후 건강과 운동 능력이 향상되기를 바랐습니다. 그러나 현실은 달랐고, 전신 통증은 더욱 심해졌습니다. 그는 이렇게 말했습니다. “관절이 마치 노인처럼 쑤시고 아팠습니다. 통증은 점점 심해졌고, 일할 때나 쉴 때 모두 계속되었습니다. 자세를 바꾸거나 움직일 때마다 너무 힘들었습니다. 목발을 사용하거나 가족의 도움을 받는 경우가 많았습니다. 1년 넘게 택시만 타고 출근하고, 더 이상 스스로 운전할 수 없게 되었습니다.”
응우옌 티 번 석사 전문의가 환자 M을 진찰합니다.
2025년 6월, 상태가 점점 악화되자 그는 다시 홍옥 종합병원을 찾아 진료를 받았습니다. 이곳에서 그는 다양한 검사, 영상 진단, 그리고 골밀도 검사를 진행했습니다. 그 결과, 그는 골연화증을 앓고 있으며 부갑상선 기능 항진증 및 만성 저인산혈증을 동반하고 있다는 진단을 받았습니다.
이 환자를 직접 진찰하고 치료한 홍옥 종합병원 근골격과의 응우옌 티 번 석사는 다음과 같이 설명했습니다. “골연화증은 대사 장애로 인해 뼈가 부드러워지고 약해지는 질환입니다. 이로 인해 뼈가 쉽게 부서지거나 골절될 수 있습니다. 이 질환은 매우 드물며, 증상이 골다공증이나 추간판 탈출증과 같은 다른 근골격계 질환 또는 부갑상선 기능 항진증과 비슷하여 발견하기가 어렵습니다. 세계 의학 문헌에 따르면 현재까지 1,000건 미만이 기록되었으며, 베트남에서는 시기적절하게 발견된 몇 안 되는 희귀 사례 중 하나입니다.”
희귀병 진단까지 험난한 여정... 원인을 찾기까지 42년 걸린 사례도
골연화증은 젊은 환자에게도 발생할 수 있으며, 원인을 정확히 파악하면 완치 및 뼈의 약화를 막을 수 있습니다. 이를 통해 추가 골절 위험을 줄이고, 관절 변형과 영구적인 운동 능력 상실을 예방할 수 있습니다. 그러나 질병의 근본적인 원인을 규명하는 것은 결코 간단하지 않습니다. 응우옌 티 번 석사 전문의에 따르면 평균 진단 기간은 3년 6개월이며, 어떤 경우에는 원인을 찾는 데 42년이 걸리기도 합니다. 그 기간 동안 환자는 장기간의 근골격계 통증을 겪는 것이 좋습니다. 베트남에서는 아직 골연화증 진단 검사에 한계가 있어, M 씨의 원인 규명 여정은 많은 어려움을 겪었습니다.
환자를 접수한 즉시, 홍옥 종합병원 정형외과(근골격계) 의료진은 종합적인 평가를 실시했습니다. 그들은 다음의 요인들을 면밀히 조사했습니다.
유전적 요인: 가족력, 형제자매, 어린 시절부터의 뼈 발달 과정
직업적 요인: 유해 화학 물질 노출 여부
식습관 및 영양 흡수 능력
그 결과, 특별한 이상은 발견되지 않았고, 위와 같은 원인들은 배제되었습니다. 이어서 의료진은 부갑상선기능항진증 및 만성 저인산혈증의 위험 요인을 평가했습니다. 초음파 검사 결과, 부갑상선에 종양이 없음을 확인했으며, M 씨의 부갑상선기능항진증은 이차성으로 진단되었습니다. 이는 골연화증의 합병증이며, 질병의 원인이 아니었습니다.
의료진은 계속해서 저인산혈증의 원인을 찾았습니다. 검사 결과, 소변을 통한 인 배출 지수가 증가한 것으로 나타났습니다. 이에 따라, 환자에게 FGF23을 과다 분비하는 종양이 있을 것으로 의심했습니다. 이 종양은 요로를 통한 인 배출을 증가시켜 저인산혈증과 뼈 대사 장애를 유발하여 골연화증을 일으킨 것입니다.
MRI 영상에 나타난 우측 허벅지 아래 연부 조직 종양
반 석사 의사는 다음과 같이 설명합니다. “종양의 정확한 위치를 파악하는 것입니다. 종양을 제거해야만 뼈를 약하고 부서지기 쉽게 만드는 인산 결핍의 근본적인 원인을 해결할 수 있기 때문입니다. 그러나 진단 과정은 많은 어려움이 따릅니다. FGF23 분비 종양은 대부분 양성 종양이며 크기가 작고 통증이나 부종을 유발하지 않습니다. 특히 이 종양은 신체 어느 부위든 나타날 수 있습니다. 정확한 진단을 위해서는 혈액 내 FGF23 수치를 측정해야 하지만, 현재 베트남에서는 이 검사가 불가능합니다. 따라서 우리는 환자에게 방사성 추적자를 이용한 전신 PET/CT 촬영을 MRI 및 초음파 검사와 함께 처방했습니다. 마침내, 환자의 오른쪽 허벅지 아래 연조직에서 약 1~2cm 크기의 종양을 발견했습니다.”
뼈를 약화시킨 종양 제거 후, 운동 능력 상실 위기 극복
종양의 위치가 확인되자마자, 홍옥 종합병원 근골격계, 내분비내과, 정형외과 의료진은 즉시 협진을 진행했습니다. 협진 결과, FGF23 과다 분비 종양의 병리학적 조직을 확인하기 위한 생검과 종양 절제술을 시행하기로 결정했습니다.
수술로 적출된 종양 사진
수술은 성공적으로 마무리되었고, 종양은 완전히 제거되었습니다. 수술 후 환자의 건강 상태는 안정적이었습니다. 수술 1주일 후 혈중 인 수치는 눈에 띄게 개선되었고, 현재 6주 후에는 정상 수준으로 회복되었습니다. 환자는 식사와 수면의 질이 향상되었고, 통증도 크게 줄었습니다. 자세를 바꾸거나 옆으로 누워도 더 이상 통증이 없으며, 보조기 없이도 실내에서 걸을 수 있게 되었습니다.
응웬티번 석사·전문의는 “환자의 경우 뼈 손상이 심하기 때문에 최소 3개월에서 12개월의 회복 기간이 필요합니다. 이 기간 동안 환자는 칼슘, 활성형 비타민 D 보충 및 영양 강화 식단으로 구성된 치료 계획을 철저히 따라야 합니다.”라고 설명했습니다.
수술 후 환자의 상태가 안정됩니다.
이 사례를 통해 응웬티번 석사·전문의는 “환자분들은 지속적인 뼈 및 관절 통증이 있을 경우 주의를 기울여야 합니다. 이상 증상이 나타나면 즉시 근골격계 전문의에게 진료를 받아 진단 및 치료 지연을 피하는 것이 중요합니다.”라고 강조했습니다.